Saisonbedingt: Verlängerte Lieferzeit bei Wasserpflanzen. Momentan 10 - 12 Arbeitstage
NaturaGart Online-Shop
Favoriten

Winkelprofil 30°

30° DecoGard-Winkelprofile in Aluminium blank
Winkelprofil 30°

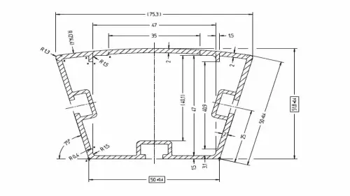
Die Maße

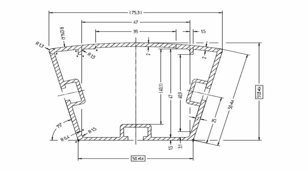
Die Maße
Maße und Fertigungs-Toleranzen entsprechen dem üblichen Industrie-Standard. In maßkritischen Fällen bitte Muster anfordern.
Längenabschnitte erfolgen i.d.R. mit der Toleranzklasse "mittel" (z.B. 1,2 mm bei 1-2 m Länge).
In maßkritischen Fällen erbitten wir vorab einen Hinweis mit den genauen Anforderungen.
Wenn diese von uns nicht zu erfüllen sind, können wir den Auftrag ablehnen oder eine (kostenpflichtige) messtechnische Überprüfung anbieten.

3D-Objekt

Wählen Sie die gewünschte Ansicht des Aluminium-Profils durch Verschieben mit Maus oder Finger.

Downloads für Konstruktionen

Realisieren Sie mit den DecoGard-Profilen ihre eigenen Konstruktions-Ideen. Hier können Sie dieses Profil herunterladen.
Download Icon für das DXF-Modell  In Kürze verfügbar

Das ist das klassische Austauschformat zwischen professionellen Konstruktions- (CAD-)Programmen.
1 Produkte gefunden